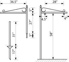
SIGN POSTS

SIZE: 24" 32" AND 36"

MATERIAL: METEL

"A" FRAMES

SIZE: 24" 32" AND 36"

MATERIAL: METEL

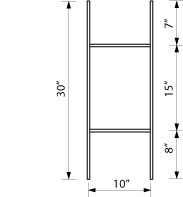
"H" STEP STAKES

SIZE: 24" 32" AND 36"

MATERIAL: METEL

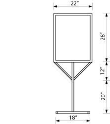
INDOOR FLOOR STAND

SIZE: 24" 32" AND 36", MATERIAL: METEL